3月25日,苏州市区6宗地块进行集中出让,其中2宗商住用地,4宗纯住宅用地,起拍总价110.84亿。
上午10:00,浒墅关6号地块率先开拍,开拍前该地块已有14轮报价,随即直接进入一次报价阶段。
最终,东原(苏州禾超企业管理咨询有限公司)竞得该地块,成交总价72936.1267万元,成交楼面价14195.98元/㎡,溢价率13.57%。
●苏地2020-WG-6号地块位于高新区浒墅关开发区文昌路东、大同路绿化地北,为纯住宅用地,出让面积25689㎡,容积率1-2,建筑面积51378㎡。
上午11:00,尹山湖2号地块开拍,开拍前该地块已报价至“现房前一手”。
最终,华润置地竞得该地块,成交总价330283万元,成交楼面价18485元/㎡,溢价率10.03%。
●苏地2020-WG-2号地块位于吴中经济技术开发区郭巷街道清禾路北侧、郭渔路西侧,为纯住宅用地,出让面积74450.2㎡,容积率1.3-2.4,建筑面积178680.5㎡。
配建社区用房和社区居家养老服务用房,按照不低于1000元/㎡的标准进行前期装修,验收合格后无偿移交属地政府;项目为全装修住宅,且装修成本不得低于1200元/㎡,明确空调、热水器、脱排油烟机应当安装到位,销售价格备案时要向主管部门提供房屋装修配置和装修成本等相关证明材料。下午13:00,胥口镇3号地块开拍,开拍前该地块已有12轮报价。

最终,大发竞得该地块,成交总价90201.87万元,成交楼面价11647元/㎡,溢价率13.98%。

▲贺图
●苏地2020-WG-3号地块位于吴中区胥口镇孙武路南侧、东欣路西侧,为商住用地,出让面积38723.7㎡,容积率1.3-2,建筑面积77447.4㎡。
A区内需设置部分商业用房,商业计容面积为1200-2900㎡,业态为零售、办公,应集中设置,不得沿街设置, 可分割销售;项目为全装修住宅,且装修成本不得低于1000元/㎡,明确空调、热水器、脱排油烟机应当安装到位,销售价格备案时要向主管部门提供房屋装修配置和装修成本等相关证明材料。下午14:00,相城渭塘4号地块开拍,历经9轮报价,竞拍激烈。

最终,金科竞得该地块,成交总价145204.92万元,成交楼面价11110元/㎡,溢价率13.37%。

▲贺图
●苏地2020-WG-4号地块位于相城区渭塘镇新燕大道南、钻石路西,为纯住宅用地,出让面积52279㎡,容积率1-2.5,建筑面积130697.5㎡。
住宅单套户型面积不得低于100㎡;成品住宅(6层及6层以下住宅除外)比例应达到100%。下午15:00,新区科技城5号地块开拍,该地块此前已有3轮报价,溢价率10%,达到“现房前一手”。
最终,恒泰竞得该地块,成交总价358566万元,成交楼面价12378元/㎡,溢价率10.00%。

▲贺图
●苏地2020-WG-5号地块位于高新区科技城天佑路西、科霞路南北,分为A、B、C三个区,总出让面积151070.3㎡,综合容积率1-1.92,总建筑面积289669.8㎡。
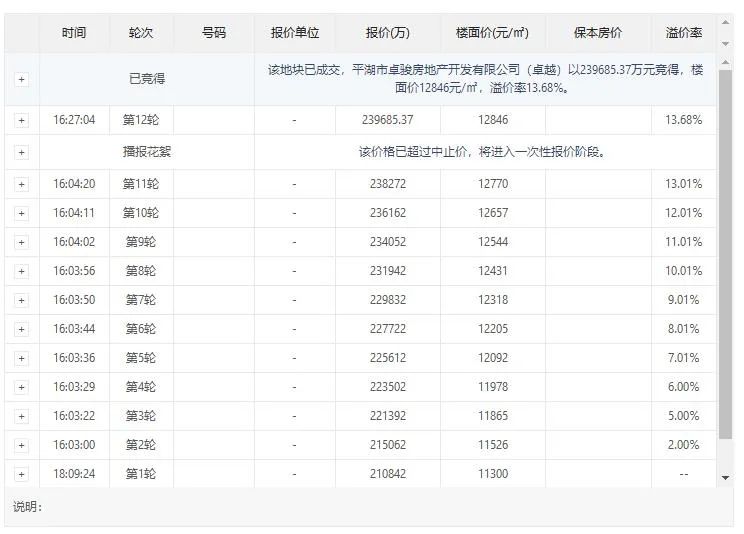
②C区内须设置计容建筑面积不大于65650㎡且不小于64650㎡的商业。其中设置计容建筑面积不大于25650㎡的全装修成品服务型公寓,可分割销售, 其余商业部分不可分割销售;设置计容建筑面积不小于4000㎡的超市,超市内须设置计容建筑面积不低于1500㎡的农贸生鲜市场;③A区、B区按规范设置的社区用房统一独立设置在C区,计容建筑面积不少于5000㎡,其中4343㎡建成后由属地政府按6000元/㎡进行回购,所有社区用房产权归属地政府所有。④C区不可分割销售的商业部分开工前,住宅预售比例不得超过总计容建筑面积20%;主体结构封顶前,住宅预售比例不得超过总计容建筑面积70%;主体结构封顶后至取得“竣工验收备案表”之前,方可办理服务型公寓的预售许可、住宅预售比例不得超过总计容建筑面积85%;商业地块未按合同约定开竣工,无偿收回土地使用权,地上建筑以及相关建设投入不予补偿。下午16:00,吴中越溪1号地块开拍,经过12轮报价,最终,卓越竞得该地块,成交总价239685.37万元,成交楼面价12846元/㎡,溢价率13.68%。

▲贺图
●苏地2020-WG-1号地块位于吴中经济技术开发区越溪街道文溪路北侧、溪秀路东侧,为纯住宅用地,出让面积74634.4㎡,容积率1.3-2.5,建筑面积186586㎡。
配建社区用房和社区居家养老服务用房,按照不低于1000元/㎡的标准进行前期装修,验收合格后无偿移交属地政府。到此,本场拍地结束。
苏州下场拍地在4月1号,共有8宗地块将进行出让,敬请关注。